服务流程
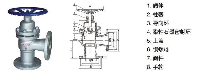
法兰角式柱塞阀工作原理:
U44SM法兰角式柱塞阀的关闭由一个不锈钢柱塞、上下两只富弹性密封圈及一个金属隔框组成,密封效果由柱塞与密封圈紧密配合来达到,柱塞插在两只密封圈中,密封面积远大于普通截止阀;开关柱塞阀时,柱塞在密封圈中缓慢移动,接触面几乎不磨损,关闭时,柱塞插入下密封圈,截断流道;开启时,柱塞虽然脱离下密封圈,但仍藏在上密封圈内,保持与外界隔离,不致发生泄漏。
法兰角式柱塞阀产品特点:
1、可安装在水平或垂直的管道上。
2、阀体材质可以选用高温不锈钢或碳钢材质。
3、阀杆调质及表面氮化处理,有良好的抗腐和抗摩擦性能;密封好性能更可靠。
4、阀瓣与阀杆设计为一体结构,用以防止由于管路压力波动造成内件冲出阀体的可能性,结构紧凑,使用安全。
法兰角式柱塞阀安装和维修:
1、本柱塞阀可在任意位置安装,介质流动方向见阀体一箭头所示。
2、在短时间内,冷热交替温差较大的管道中,柱塞阀不能使用。
3、本公司生产的柱塞阀出厂前均按ZBJ16006进行试验、验收、使用时只需将外表及孔腔清洗干净,不必拆洗和更换。
4、经过一段时间的使用密封环如有磨损及渗漏必须先将阀门关闭后,再将中法兰螺栓均匀地略加旋紧以至不渗漏即可同时更换时应防止柱塞和新装密封环裂痕和碰伤。

法兰角式柱塞阀主要外形及连接尺寸
|
型号
|
公称通径 DN(mm)
|
主要外形及连接尺寸(mm)
|
|||||||
|
L0
|
H
|
W
|
D
|
D1
|
D2
|
b
|
Z-Φ d
|
||
|
U(J)44SM-16cP
|
15
|
65
|
190
|
100
|
95
|
65
|
45
|
12
|
4-14
|
|
20
|
75
|
210
|
100
|
105
|
75
|
55
|
12
|
4-14
|
|
|
25
|
80
|
220
|
120
|
115
|
85
|
65
|
12
|
4-14
|
|
|
32
|
90
|
250
|
140
|
135
|
100
|
78
|
13
|
4-18
|
|
|
40
|
100
|
280
|
160
|
145
|
110
|
85
|
13
|
4-18
|
|
|
50
|
115
|
300
|
180
|
160
|
125
|
100
|
13
|
4-18
|
|
|
65
|
145
|
320
|
200
|
180
|
145
|
120
|
15
|
4-18
|
|
|
80
|
155
|
340
|
240
|
195
|
160
|
135
|
17
|
8-18
|
|
|
100
|
175
|
420
|
280
|
215
|
180
|
155
|
17
|
8-18
|
|
|
125
|
200
|
440
|
320
|
240
|
210
|
185
|
19
|
8-18
|
|
|
150
|
240
|
530
|
350
|
280
|
240
|
210
|
21
|
8-23
|
|
|
200
|
300
|
610
|
400
|
335
|
295
|
265
|
23
|
12-23
|
|
|
250
|
325
|
730
|
520
|
405
|
355
|
295
|
27
|
12-25
|
|
|
300
|
375
|
850
|
640
|
460
|
410
|
385
|
28
|
12-25
|
|
|
350
|
394
|
970
|
460
|
520
|
470
|
435
|
30
|
16-25
|
|
|
400
|
457
|
1100
|
900
|
580
|
525
|
485
|
32
|
16-30
|
|
|
型号
|
公称通径 DN(mm)
|
主要外形及连接尺寸(mm)
|
|||||||
|
L0
|
H
|
W
|
D
|
D1
|
D2
|
B
|
Z-Φ d
|
||
|
U(J)44SM-25cP
|
15
|
65
|
190
|
100
|
95
|
65
|
45
|
14
|
4-14
|
|
20
|
75
|
210
|
100
|
105
|
75
|
55
|
14
|
4-14
|
|
|
25
|
80
|
230
|
110
|
115
|
85
|
65
|
14
|
4-14
|
|
|
32
|
90
|
260
|
140
|
135
|
100
|
78
|
15
|
4-18
|
|
|
40
|
100
|
260
|
160
|
145
|
110
|
85
|
15
|
4-18
|
|
|
50
|
115
|
290
|
180
|
160
|
125
|
100
|
17
|
4-18
|
|
|
65
|
145
|
320
|
200
|
180
|
145
|
120
|
19
|
8-18
|
|
|
80
|
155
|
370
|
240
|
195
|
160
|
135
|
19
|
8-18
|
|
|
100
|
175
|
420
|
280
|
230
|
190
|
160
|
21
|
8-23
|
|
|
125
|
200
|
460
|
320
|
270
|
220
|
188
|
25
|
8-25
|
|
|
150
|
240
|
530
|
350
|
300
|
250
|
218
|
27
|
8-25
|
|
|
200
|
300
|
610
|
400
|
360
|
310
|
282
|
31
|
12-25
|
|
|
250
|
325
|
730
|
520
|
425
|
370
|
345
|
33
|
12-30
|
|
|
300
|
375
|
850
|
640
|
485
|
430
|
408
|
36
|
16-30
|
|
|
350
|
394
|
970
|
760
|
550
|
490
|
465
|
40
|
16-34
|
|
|
400
|
457
|
1100
|
900
|
610
|
550
|
535
|
44
|
16-34
|
|
Copyright © 2018杭州中力阀门有限公司版权所有